
Breguet closed out the year with a watch that could be considered the most innovative release of last year. If widely industrialized, Breguet’s new magnetic escapement—launched in the Expérimentale 1—could become one of the most impactful innovations to come to mechanical watchmaking in decades. Until an eventual industrialization, the Expérimentale 1 remains a fascinating novelty, capping off the brand’s 250th anniversary and reflecting many of Abraham-Louis Breguet’s personal passions and innovations.
In most ways, the technical achievement overshadowed the aesthetic updates. The Expérimentale 1 also launched a new design for the Marine line that the brand hopes will entice a new, younger generation of collectors to come into the brand, which could use an infusion of new blood. However, if the 250th anniversary releases are any indication, Breguet seems to be doing quite well; undoubtedly, the installation of Gregory Kissling as CEO has breathed new life into what many would argue is the most storied brand in the Swatch Group catalog. As part of the story, we’ll hear from Kissling himself about the release and what we should expect from the brand in the coming years.

Breguet CEO Gregory Kissling presenting the brand’s Expérimentale 1 and explaining their use of antimagnetic materials.
The Breguet Expérimentale 1 is complex, so I felt it was best to take some time to dive into how the escapement works. Before we get to Breguet’s new escapement and the technicality behind it, it’s worth discussing an early attempt at the magnetic escapement that originated in two unlikely places. Also, Breguet gave me a chance to push my pocket watch agenda—heck, even my American-oriented view—and I’m going to take it, gladly.
The British/American History of the Magnetic Escapement

The Breguet no. 106 Marine Chronometer. Photo courtesy Sotheby’s.
Abraham-Louis Breguet’s pursuit of perfection in the natural escapement is well documented. He devoted considerable time to developing a mechanism that eliminates sliding friction and the need for continuous lubrication, which would be more accurate and efficient. However, Breguet found a major issue: backlash between the teeth. Too much backlash, or play, between the teeth, and it could slip. Not enough, and the friction could stop the escapement completely. Unable to resolve this issue with the era’s manufacturing, Breguet abandoned the concept. In 2015, Nicholas Manousos offered a thorough examination of how modern watchmakers, those following in Breguet’s footsteps (Voutilainen, Journe, and Ferrier), have addressed this “backlash” issue.

The movement of the early Breguet no. 1176 tourbillon, sold at Christie’s in 2014 for CHF 821,000.
Back in Breguet’s era, accurate timekeeping was a matter of life and death. In 1814, A-L Breguet was named Watchmaker to the French Royal Navy by Louis XVIII. Navigation required precise timekeeping, and Breguet was obsessive. The lowest-numbered surviving Breguet marine chronometer is No. 104, which was most recently sold at Sotheby’s in 2019 for CHF 325,000. These watches showed the English influence of Breguet’s contemporary (and chronometer master watchmaker) John Arnold, who also conceived the general concept of the tourbillon, which Breguet perfected.

Breguet no. 1252, in a private collection. Image courtesy and copyright by the collector.
It’s also worth mentioning Breguet’s No. 1252 demonstrator timekeeper, a sculptural, bell-like shape with a small dial and a visible tourbillon with a constant-force system. This piece was sold in 1814 to the Prince Regent of England, and Breguet kindly provided photographs of it, as it is in a private collection. The use of a constant force ensures a stable power supply to the balance, thereby maintaining a constant amplitude and accuracy. All of these innovations and passions converge in the Expérimentale 1. However, this misses a critical part of the puzzle: magnets.
Enter British watchmaker Cecil Frank Clifford, a fellow at the British Horological Institute, who could be considered the father of the magnetic escapement. His experimentation with the concept began in the 1930s in pursuit of a silent-running underwater torpedo that would be hard for the enemy to detect. The idea he devised could be used just as well as a brushless stepper motor or a watch regulator.

C.F. Clifford’s 1954 patent application for various versions of magnetic escapements.

Figure 1a above is closest to what would be eventually implemented in prototype watches from Hamilton.
The concept was simple—a flat, cut-out sinusoidal escape wheel, crafted from a magnetic material called “Mumetal,” would rotate horizontally between the two vertical prongs of a pair of magnetized blades. The blades would vibrate as the escape wheel passed through, creating a near-sinusoidal pattern that regulated the magnetic escape wheel’s rotational speed. That loop, from the magnet generating vibration to the vibration regulating the magnet’s speed, was patented in a very simple (and, as it stood, impractical) British application in 1954.

The Hamilton 992B prototype with Clifford magnetic escapement, as seen to be sold sold at Antiquorum in 2012. The estimate was CHF 20,000 – 40,000. Photo courtesy Antiquorum.
Clifford’s application took the “kitchen sink” approach. Every variation of escape-wheel setup he could imagine was incorporated into the filing, and, in hindsight, none of them look particularly promising. Practical application, unsurprisingly, was complex. He eventually joined clock-making company Horstmann Gear Ltd, creating Horstmann Clifford Magnetics Ltd in 1948 in the hope of finding a home for his invention through licensing.
Hamilton, in the United States, fitted the described escapements into two examples of its 992B workhorse movement (over 525,000 992Bs were produced from 1940 through 1969) and sent them to Clifford for testing. The most recent sale of one Antiquorum was for a strangely low CHF 4,000 in 2020—had I been aware of it, I would have bought it without question. No photographs of the movements were provided, but it appears to be the same watch as that had been offered for sale at least three other times, including in 2006 for CHF 82,600.

The Clifford magnetic escapement 992B prototype movement, serial number C390218. Photo courtesy Antiquorum.
The escapement in the Hamilton looks closest to his “1a” patent diagram. The wheel appears highly futuristic for its time and lacks the defining traits of any period escapement. The shiny Mumetal wheel (a nickel-iron soft ferromagnetic material typically composed of approximately 80% nickel and 20% iron, with a small amount of molybdenum) has no teeth to engage a pallet. Where a standard 992B has a balance (with balance cock coming from the right and escape wheel at left), instead, you have that cut-out wheel and two metallic blades extending over the wheel and bent at the end, nearly touching. Therein lies one main problem. Any shock could cause the blades to touch the wheel, stopping the watch. At best, Antiquorum found them capable of running for a maximum of 10 hours undisturbed.
Unsurprisingly, Clifford never found success in watches, but he did find a home for his escapement in a variety of tuning-fork-regulated clocks. However, while one of Clifford’s major adopters, Junghans, marketed its “Silent” alarm clocks using the Clifford magnetic escapement starting in 1959, it had to recall all 30,000 units produced. As it turned out, the escapement was highly susceptible to dust. This occurred in addition to the “runaway” issue, in which the escapement would fail to lock, and the mainspring would wind down nearly instantaneously. For more on the Clifford Escapement, there’s extensive information in an issue of the NAWCC Bulletin published in 2007. It’s worth noting, however, that there are some obvious similarities here to the continuously forward-rotating glide wheel on Grand Seiko’s Spring Drive.
How Breguet and Swatch Group Research & Development Made It Work
The magnetic escapement in the Expérimentale 1 was the product of ten years of development by the Swatch Group Research & Development. While the patent did show the escapement in a mockup of a Breguet Tradition, the implication here—though I haven’t been able to confirm—is that the magnetic escapement could have very well ended up in a Blancpain or Omega just as easily.
The ref. 7225 with 10Hz escapement and magnetic pivot.
It certainly feels most at home with Breguet. The brand has already flexed its 10 Hz magnetic pivot (twice) and now has a silent magnetic regulator in its recently updated Grande et Petite Sonnerie pocket watch. But even Breguet’s CEO, Gregory Kissling, admits that the success of the new escapement comes from the approximately 150 companies that the Swatch Group can tap to create an escapement like this (and eventually industrialize it).
The Grande et Petite Sonnerie ref. 1905 was released the night before the Expérimentale 1.
How It Almost Worked In 2016
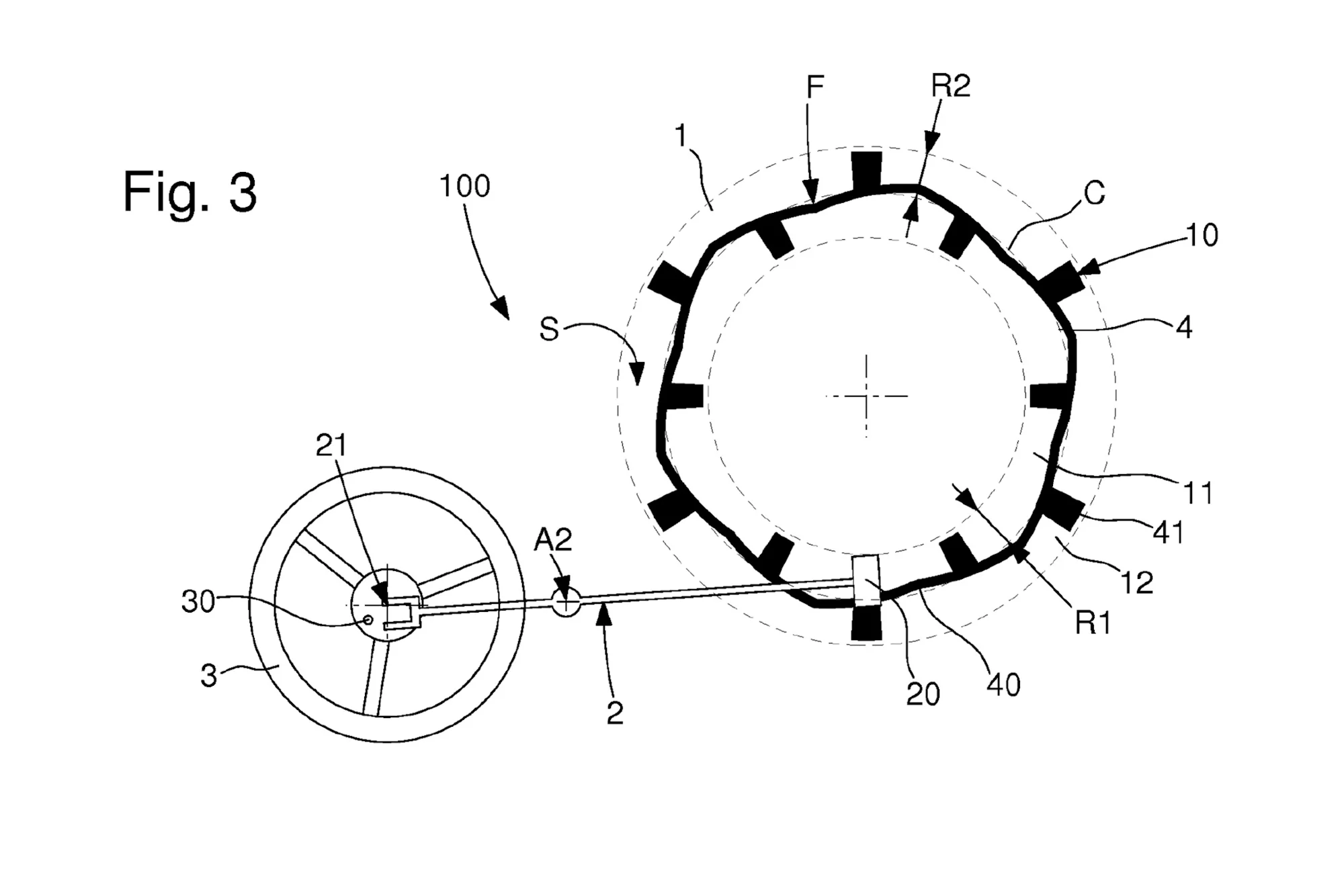
In 2016, Swatch Group Research & Development filed its first patent on the magnetic escapement, EP3208667B1, which represented a key improvement over Clifford’s. Figure 3, shared by Swatch, depicted a lever with a fork at one end, engaging the balance as usual, and a single arm without a rocker, featuring a small ferromagnetic tip that would ostensibly oscillate in and out of the escape wheel, which had strips of magnetic material attached. One of the commonly used terms in the presentation of the Expérimentale 1 escapement was “energy ramp,” which referred to the amount of magnetic force applied by the magnetic material (in the case of Fig. 3, magnetic strips) in increasing amounts to the opposing magnetic arm or arms attached to the end of the lever for the balance.

Figure 3 from EP3208667 shows the fork at (21) interacting with the balance wheel (3) rotating on pivot (A2) while the arm (20) cycles in and out of the internal track (11)
and on said external track (12), while interacting with alternately placed barrier studs (41), forming a magnetic field barrier.
The movement of that arm would provide an impulse to the balance. Using a standard fork and sprung balance eliminated some of the risk of runaway, unlike in Clifford’s design. On the inside and outside of the wheel were two blocks of magnetic material that would help slow and force the arm in and out, acting, in essence, as teeth, both locking the escape wheel and giving impulse.
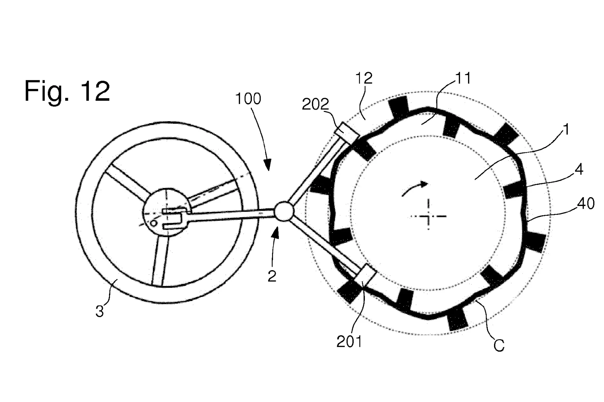
In the same patent, you see another diagram that approaches the eventual implementation of the new escapement. Figure 12 appears more like a Swiss lever escapement, with magnetic arms rather than jewelled pallets. But it lacks an anti-shock safety feature. Assume the movement receives any shock from impact. Under normal conditions, the magnetic forces between the escape wheel and the pallets lock the system in place. This is in addition to the locking provided at the opposite end by the balance roller and breaking pin. A sufficiently hard shock could cause the escapement to jump the barrier, “galloping” out of sync with the armature’s lever action. And, as there’s no physical contact between the armature and the escape wheel in a traditional sense, when the movement stops running, there’s no guarantee the arms would come to rest in the correct position that would allow the magnets to create an impulse and start the escapement correctly.

Figure 12 from EP3208667 is more similar to a Swiss lever escapement. From the patent, translated from the original French:
“Figure 12 illustrates an advantageous variant where the armature (2) comprises two pole pieces (201) and (202) arranged angularly to operate alternately, in the extreme angular positions of the armature (2), one with the inner track (11), the other with the outer track (12), so that the forces are added together. This configuration has numerous advantages. First, the torque difference due to the difference in radius between the inner track (11) and the outer track (12) is compensated since one of the armature’s pole pieces is always on the inner track (11) while the other is on the outer track (12). Secondly, manufacturing irregularities of the wheel (1), from one angular period to the next, are averaged out since the armature’s pole pieces do not encounter the same defects. Finally, the torques transmitted during each alternation are doubled.
Patent EP3208667 covers this, further down. The resulting design is much closer to the eventual movement released by Breguet 9 years later, but a bit less elegant. You can still see the braking barrier studs, which would eventually prove unnecessary in this format, and the magnetic track itself appears somewhat lumpy. It looks as if Swatch R&D was trying to create a physical representation of a sinusoidal wave found in a synchronous electric motor. They’d later find that a ramp-and-cliff (as I’m calling it) method, which pushes the pallet out more jarringly, works just fine and forces the other side of the arm into the magnetic field, recharging the system.

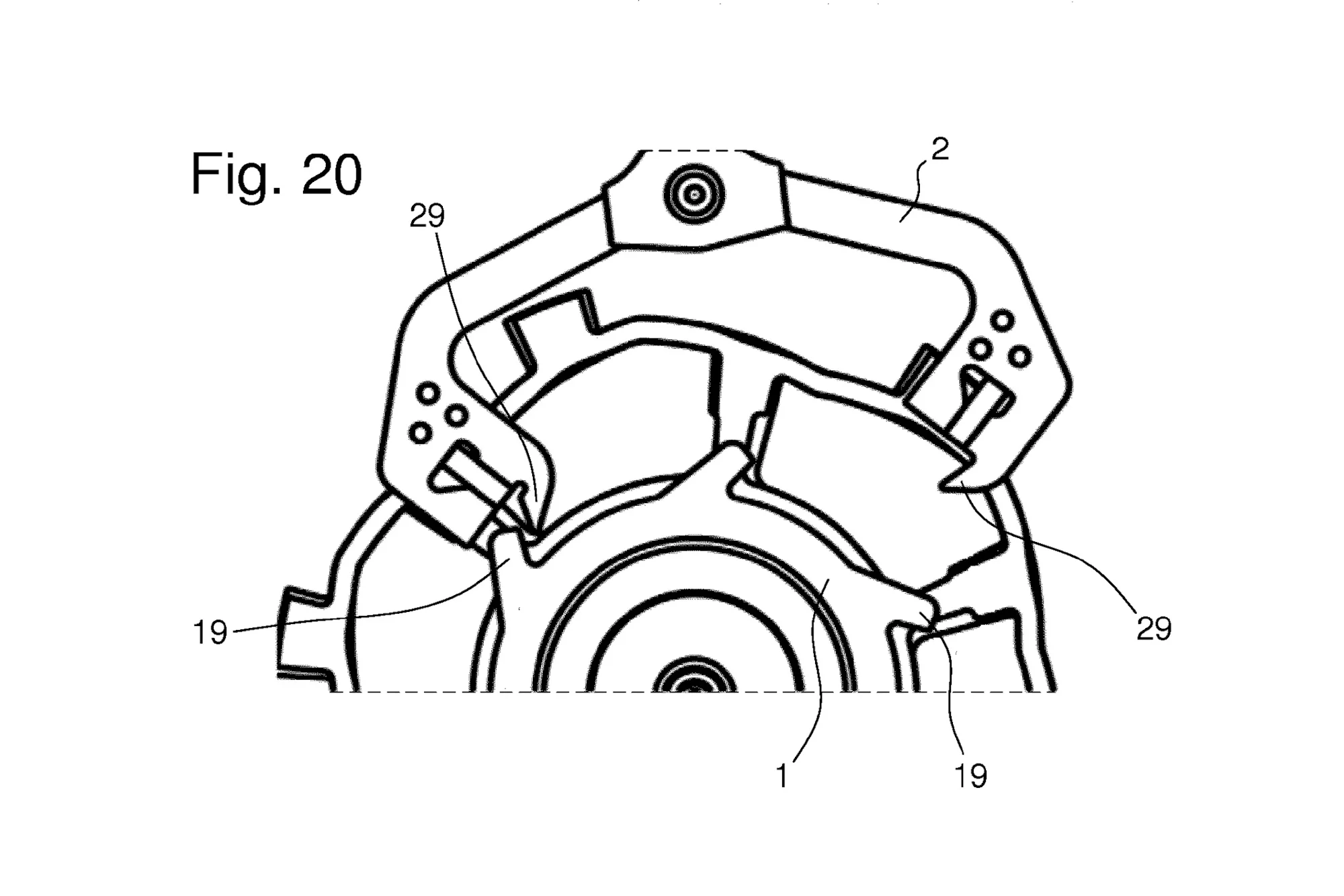
Quoting from a translation of the French patent in Patent EP3208667, “Figure 20 shows a variant with mechanical stops (19) on the wheel (1) and complementary mechanical stops (29) on the armature (2), to ensure that the system does not disengage in the event of a shock. These stops must be positioned to block the rotation of wheel (1) when the magnetic pole of the armature crosses a magnetic barrier following an impact.”
How It Finally Worked In 2025
Somehow, Swatch’s filing of Patent EP3882713, published in 2022, seemed to fly under the radar. The balance wheel, banking pin, and roller in a Swiss lever escapement remain unchanged. In this case, the balance is relatively small, allowing for the 10Hz beat rate. What changes is everything down below the pivot of the pallet fork, so let’s start with an exploded view of the escapement and pallet system. Here’s how it works.

Photo courtesy Breguet.
At the top and bottom, there are two wheels made of titanium, with the ramps (colored blue and red for “south” and “north” poles, respectively) made of samarium–cobalt connected to the titanium. The top wheel is oriented with the north magnetic pole facing outward, while the bottom is mirrored, with the south pole facing out. You can also see that the thickness of these wheels “ramps” up, literally, getting wider until there is suddenly a square breaking barrier stud.
The two wheels are connected to the escape wheel’s pivot, with the gearing that would connect to the fourth wheel in a standard gear train. In between, there is now an additional third safety wheel similar to a conventional escape wheel in a Swiss lever escapement. Similarly, the pallets resemble a Swiss lever system. Instead of jewelled ends, there are two small samarium–cobalt magnets inset, with the wheels above and below having mirrored polarity. Two magnetic repulsive forces inherently have some magnetic potential energy. Here, the interaction between pallet magnets and magnetic wheels also ensures a constant force regardless of the mainspring’s power.
One thing to note about magnetic fields is that, although the ramp angle seems subtle, magnetic forces scale quadratically. By doubling the amount of material, you actually have four times the force. What appears to be incorrect in the diagram above is the polarity orientation of the pallets.

This overhead view of the escapement from Patent EP3882713 with the top wheel removed to see the function. In Figure 1I, the wheel has completed a supplementary arc and is locked against the breaking pin (21). The blue color I added indicates the negative polarity of the samarium-cobalt “ramp”.
You’ll notice that the entry pallet between the magnetic wheels is not touching the safety wheel. Instead, the magnetic brake at the end of the ramp is strong enough to repel the entry pallet’s opposite polarity, preventing it from bumping the safety wheel. At the same time, the exit pallet is out and free of the magnetic field. But you can also see that the section of magnetic material on the escape wheel nearest the exit pallet is thinner than that where the entry pallet sits, meaning the entry pallet is subject to the most magnetic force possible in the system.
As the roller pin begins to rotate counterclockwise under the tension of the balance spring, it transmits a mechanical impulse to the pallet fork. Because the entry pallet is already under the greatest magnetic tension, it quickly rotates out of the field. It forces the exit pallet into the region of lower magnetic resistance, trailing behind. However, because there is less magnetic resistance, the wheel can also now rotate, taking energy from the mainspring forced through the system. The magnetic ramp, then, encounters increasing resistance until the magnetic breaking block, and the process repeats in the opposite direction. The diagram below illustrates how the entry pallet slides in and the exit pallet slides out.

Illustration by Mark Kauzlarich based on Patent EP3882713.
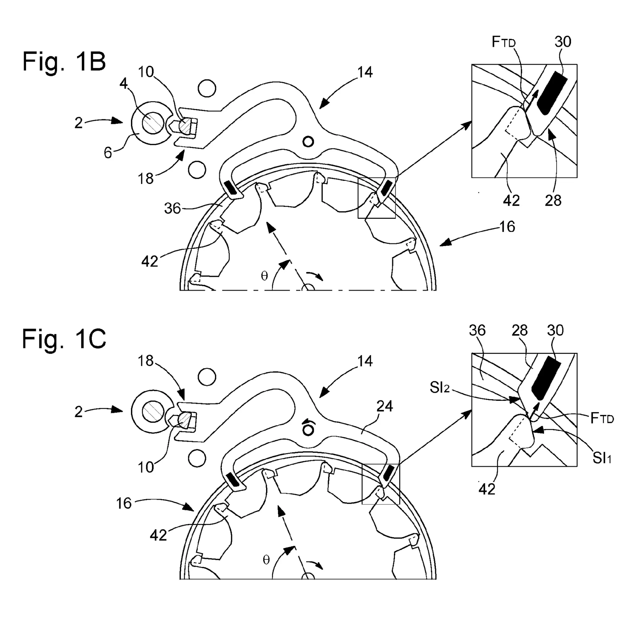
More importantly, the inclusion of this safety wheel addresses self-starting. Even if the lever is out of position, once the mainspring is wound and exerts pressure on the escapement, the escape wheel will rotate clockwise. The safety wheel will engage whichever pallet arm is in the system and push it, as it would a conventional Swiss lever escapement, as the pallet slides off the end. The mechanical impulse is transmitted through the arm to the balance wheel, which begins to tick. Within the first few ticks of the balance, the safety wheel and pallet arms may continue to contact like a Swiss lever escapement as the amplitude increases, until the system settles into a rhythm in which magnetism takes over. This is illustrated in Figures 1B and 1C of the 2022 patent, shown below. Yes, this means there is some potential friction and indirect impulse, but only slight and (under ideal function) only when the watch is starting.

The safety wheel also functions as an anti-shock mechanism. When functioning perfectly, Breguet’s watchmaker explained to me that the magnetic braking barriers should prevent the ends of the pallets from contacting the safety wheel. Even if they come into contact, from a functional standpoint, the impact is slight—softened by magnetism—and the magnetic barriers will push the two pieces back apart. As a result, the impulse moving the pallet will still be magnetic, not mechanical, and therefore frictionless.
Among the collaborative benefits of the Swatch Group, Kissling specifically cited the use of Nivarox for parts, including the flat silicon hairspring and the LIGA (NiP12) fixed fourth wheel. Nivagauss and titanium play a significant role in this technology, as you only want magnetism to affect components that rely on magnetic functionality. In other words, antimagnetism is essential. This includes a grade 2 titanium escape wheel and grade 5 titanium tourbillon blanks. The entire watch is rated to function up to 600 Gauss. Even if the watch becomes magnetised, only the escape wheel and pallet fork would need to be replaced after demagnetisation. As for the samarium-cobalt magnets, they’re among the strongest permanent magnets and should continue to function for decades.
The Larger Implications
Breguet aside, this was a big year for escapement technology. Rolex took a very different approach to the launch of its latest innovation: it introduced the Dynapulse escapement in a more affordable, consumer-focused model, the Land-Dweller. In speaking with Kissling, I asked him why the brand chose to put this new, potentially industry-changing technology in a CHF 320,000.
“When you come out with such a breakthrough technology, you have to test it, you have to homologate, it takes a lot of time, and you cannot go like 10,000 escapements a year. It is not feasible,” says Kissling. “It takes time to increase production and also to test. The adjustment must be very precise, so it’s not as easy as the Swiss lever escapement. But there is some room, not for improving, but industrializing this type of escapement, and it’ll take years. The Co-Axial escapement was launched in 1999, and the first ones were made in a limited series. Then they increased [production] and within 20 years the entire collection, except the 321 caliber, has the Co-Axial escapement.”
“We know that it works at three, four hertz, five hertz— the wheel will be different, of course. And the oscillator as well. The oscillator is quite small in diameter because it operates at 10 Hz. Even though the tourbillon cage is big, we have a small balance wheel. But we have prototypes that have been running for many years at 3 Hz, with a tourbillon and so on.” Kissling also added, “It’ll work perfectly for a 3 Hz oscillator on a simple three-hand watch. Perfect. Absolutely. And this is the goal. The goal again for this experimental program is not to produce high-end time pieces, limited editions, and then ‘bye-bye.’ No, the goal is then to take the heart of the Expérimental—in this case, a magnetic escapement—and try to plug it into other products.”
The Breguet Expérimentale 1 in the Metal And What It Means For Breguet’s Future
If you were tracking Breguet’s releases for their 250th Anniversary, a process of elimination would have led you to expect that the brand was short a launch in one of their core lines: the Marine. And against all odds, for how modern and technical the brand can make a watch like the “Tradition” line look, I still didn’t expect a technical release in the Marine line. It makes sense, with the ties between Breguet and marine chronometers. But we got more than just a technical Marine. We got a Marine unlike any other.
While the Breguet Marine makes logical sense as a product line, I always found it the most disjointed from the rest of the collections and in need of a makeover. Aside from the technicality shown here, the update to the Marine design language might be the best news of the release. Some key features remain. The 43.5mm by 13.3mm case (here in Breguet gold) retains the triple-lug design of past Marines but makes it more angular, with facets on the elongated side lugs that significantly alter the design. The lugs look far wider stanced as well. That, combined with the very open-worked dial, gives it a futuristic look that is unlike anything the brand has done before. Yes, the downturned lugs make it wear slimmer than the measurement. But it also looks quite a bit like a Ulysse Nardin Blast.
The brand has also added a substantial amount of three-dimensionality to the case profile. Now hollowed out and faceted, the lugs have a blue ALD-treated Breguet gold inlay. The crown also has the same blue-ALD treatment with an engraved “B.” One of my favorite features of some of the best Breguet wristwatches is that the case band retains a bit of tradition with a coin-edge. This time, however, it’s been turned into something also more 3D, with faceted edges and a less rounded profile.
The blue strap continues the lug design with an incut edge, and has a quick release system so you can swap it out for another color quite easily, but the strap is not cut-to-size nor on a deployant, but rather a pin buckle, which feels like a missed opportunity to lean into the sporty nature of the case, which is 100m water resistant. While the overall profile (especially as viewed from the top) is probably divisive, it does seem stronger and more modern than the Marines of the past.
The brand hasn’t shied away from major design moves this year, eliminating the date on the Type XX, introducing a new Classique design language, and now a new Marine design. These seem well-timed to reset the brand’s product lines. One conversation that ties into such a redesign is the future of Breguet’s product lines overall and the brand’s position in the market.
A quick look at the secondary market shows that, before this year’s releases, Breguet has certainly struggled to retain value. The same could be said of about 80%’s of Patek’s catalog, and few people would argue that the 5270P is a bad watch. But to build a successful brand, you have to ensure people buy their watches from you rather than the secondary market. That becomes harder when a watch like the Classique 7137 retails for $57,300 while it could be had for around $20,000 elsewhere. Then, when adding SKUs, you may encounter a bloated catalog. So should Breguet reduce production? Drop poorly-performing product? I put this issue toward Kissling during a group interview in Paris last December.

The Classique Souscription. Photo by Masaharu Wada.
“Our production plan will say roughly the same, but of course, the production is definitely linked to the new models, to the new product. We will continue to produce the bestsellers. We now have a strategy for fundamental research that will deliver new technologies for a new movement. With this new movement, we can animate our different lines.
Production is already split into two channels, but the goal is to continue to develop some, let’s say, in brackets, ‘accessible watches.’ This is why we have a strong chance to secure the Marine and the Type XX collections, and you will also see other products at lower prices. I mean, not below what we have today, but of course, we had with this big gap. That’s normal. [Abraham-Louis] Breguet also did the Marie Antoinette watch, and at the same time, he did the Souscription watch; two different types of watches and two different types of clients.”
The Breguet Type XX Chronographe 2075BH released earlier this year.
Finally, when asked about the market and a possible CPO product, Kissling said, “The secondary market is, for me, also a great opportunity to access for the first-time Breguet lover. We have Breguet lovers, and maybe they cannot afford these type of watches. But thanks to the secondary market, they can access the brand. It’s difficult as a brand to control. The other solution will be to bring back these watches, but it’s not in the plan. There’s no direct plan [for CPO], but this is a topic that is running in my head of course.”
The Expérimentale 1 itself is a package that is hard to process as a whole. The openworked design and Breguet numerals are (almost) never seen on a Breguet Marine, yet they seem not at all out of place. The dial does suffer greatly in terms of legibility, however. It would probably be most legible in the dark, when the Super-LumiNova on the chapter rings and hour subdials can come out to full effect. The regulator display makes sense for a chronometry-focused watch, but the blue atomic layer deposition (ALD) coating on the bridges (contrasted by the chamfers) blends in slightly too much with the ALD-coated Breguet gold blue hand. The Super-LumiNova tips of the brand’s signature hands don’t stand out enough against the silver-toned accents on the dial, either, for my liking. I will say that, in person, it reads a bit better than in these pictures, but it is probably best viewed at a slightly oblique angle, where the hands and chapter rings are more clearly separated from the dial background.
On the front, you can also see the four mainsprings that provide a 72-hour power reserve despite the power-intensive tourbillon. These are also blue, but there’s a clever trick here. The four mainsprings are in two barrels placed in series, but a sapphire disc separates the two springs in each barrel to prevent friction. While each barrel has two springs inside, working in parallel, they’re offset 180º to balance out the torque.
Individually, every touch is done quite well. The tourbillon isn’t distracting in the way some are, partially because of the ALD blue brushed base for the cage. Despite the 10 Hz beat rate of the balance, the tourbillon cage itself maintains one rotation per minute, so the top subdial is a functional second hand. The anchor at the tip opposite the seconds indication is a nice touch. Unsurprisingly, given the complexity of the escapement system, the tourbillon cage does not hack, which defeats some of the point of a chronometer.
The rear view is more traditionally Breguet. The large, flat, grained surfaces are what I’ve come to appreciate from a Swiss brand operating on the back of French heritage. While not traditionally as impressive at first glance when compared to typical Swiss finishing, I quite like the look.
There is less blue here than on the front, which I also think works well,, and I could imagine a world in which keeping a Breguet gold treatment on the front side would have helped legibility. The silver accents with blue text highlighting the achievement of the magnetic escapements also make sense on the rear, and Breguet has certainly come a long way from the original 10 Hz launch with branding all over the dial.
The blue Breguet signature, as well as the Breguet hallmark (this one a “scientific” level of certification from the brand, ensuring an accuracy of ± 1 second per day and protection up to 600 gauss) are a nice final touch. The Expérimentale 1 is limited to 75 pieces, and the caseback of each is numbered.
At CHF 320,000, this is very much a watch for those early adopters who love groundbreaking “firsts” and the story of Breguet’s heritage. If the technology is more widely implemented, it likely could be done so in a way that reshapes the Swatch Group, and with that view, the Expérimentale 1 could be that much more of a collector’s piece. It’s also a far more attractive “first” than the first Omega with a co-axial escapement, the DeVille Chronometer Limited Editions, though at a much higher price.
The Urban Jürgensen UJ-1, which was another constant force tourbillon released this year.
One of my goals this year is to better contextualize releases against their competition, so collectors can understand what they’re getting. In this case, while no one has ever made a magnetic escapement tourbillon, there are a few other watches in this category. First, and most recently released, is the new Urban Jürgensen UJ-1, which features a more classical design and a tourbillon with constant force. The UJ-1 uses a Swiss lever escapement (not a detent escapement, as in the Pratt Oval that inspired it). At CHF 368,000, it’s also CHF 48,000 more expensive and, to my knowledge, already sold out. So too is the Grand Seiko Kodo, the first constant-force tourbillon, which clocked in at CHF 382,000 but made in even fewer numbers (40 pieces so far). One of the more affordable options would be the A. Lange & Söhne Richard Lange Tourbillion “Pour le Mérite,” which features a vastly different approach to constant force with a fusée-and-chain, and retails for around $270,000.
If I’ve seemed at all a little critical, it’s only because I see massive potential here. But Breguet is well on its way. More than anything, I’m just a bit impatient to see the achievement of this escapement make its way into other watches, as I certainly would be quick to pick one up in a three-hand Tradition or Classique. Similarly, I’d love to see the great releases of this year (like the Type XX relaunch) appear in more consumer-friendly materials and price points, like steel or titanium.
It’s possible that all my wishes aren’t far from coming true. While 2025 was a big year for the brand, with what felt like more releases (especially ones of consequence) than in any year before, as we head into 2026, Kissling says that we shouldn’t expect the pace to slow down.
“The idea, of course, is to continue this momentum. You will see a few things coming that are animated from this anniversary collection. I cannot tell you more about it, but you can imagine that in the near future you will see some watches in stainless steel instead of Breguet gold. The next year is a great year for Breguet as well, because we’ll celebrate another type of anniversary. It’ll be the 225th anniversary of the tourbillon, so stay tuned for the upcoming reveal. And there will be the Expérimentale number two that is already on the pipeline as well.”
For more on the Breguet Expérimentale 1, visit the brand’s website.

